Quét để tải ứng dụng Gate
qrCode
Thêm tùy chọn tải xuống
Không cần nhắc lại hôm nay
Arca
vip
Số năm 0.3 Năm
Cấp cao nhất 0
Chưa có nội dung
1/
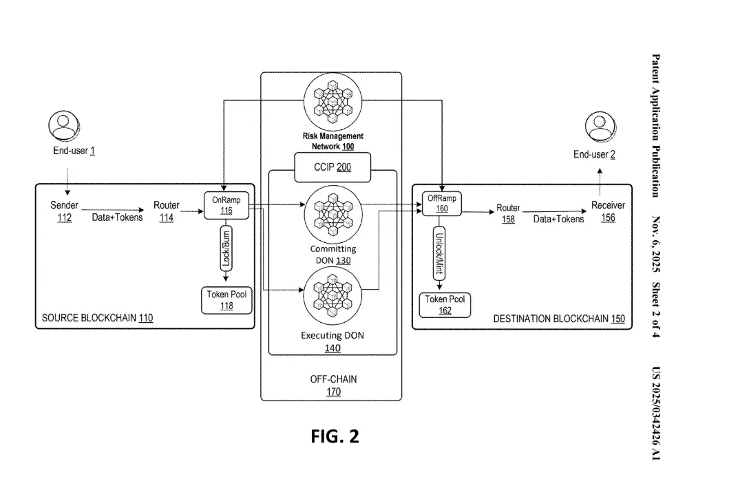
Phát hành bằng sáng chế mới trong khi tôi đang ở NYC tham dự smartcon.
Đó là Mạng Quản lý Rủi ro của $LINK (RMN), và nó giải thích chính xác cách họ dự định giữ cho CCIP không thể phá vỡ khi bắt đầu chuyển tiền thực từ các tổ chức lớn.
Mạng riêng biệt.
Mã nguồn riêng biệt.
Miền tin cậy riêng biệt.
👀🧵👇
Xem bản gốc
post-image
  • Phần thưởng
  • Bình luận
  • Đăng lại
  • Retweed
2/
Quên “bảo mật cầu nối.”
Đây là một mạng riêng biệt không tin tưởng CCIP, mà xác minh nó.
Xây dựng lại gốc Merkle từ chuỗi nguồn, kiểm tra nó với chuỗi đích, và chỉ khi chúng khớp thì tin nhắn mới được gửi đi.
$LINK
Xem bản gốc
post-image
  • Phần thưởng
  • Bình luận
  • Đăng lại
  • Retweed
3/
Nếu phù hợp = Phước lành.
Nếu không = Nguyền rủa.
Đó là thuật ngữ thực tế.
Phước ➡️ thực thi.
Nguyền ➡️ đóng băng làn đường và điều tra.
Nói với tôi bạn đã chơi Warcraft mà không nói rằng bạn đã chơi Warcraft.
$LINK
Xem bản gốc
post-image
  • Phần thưởng
  • Bình luận
  • Đăng lại
  • Retweed
4/
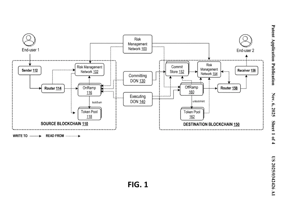
Mỗi chuỗi có hợp đồng Quản lý Rủi ro riêng của nó.
Các nút RMN ngoài chuỗi bỏ phiếu để ban phước hoặc nguyền rủa dựa trên những gì họ thấy.
Đã đạt đủ số phiếu đồng thuận chưa?
Hệ thống sẽ hành động.
$LINK
Xem bản gốc
post-image
  • Phần thưởng
  • Bình luận
  • Đăng lại
  • Retweed
5/
Nếu được ban phước, hợp đồng OffRamp thực thi thông điệp.
Nếu bị nguyền rủa, mọi thứ sẽ dừng lại.
Không có lỗi lặng lẽ.
Không có tiêu đề “cầu nối cạn kiệt trong 10 phút”.
Xem bản gốc
post-image
  • Phần thưởng
  • Bình luận
  • Đăng lại
  • Retweed
6/
Mã nguồn nhẹ, khoảng 10.000 dòng, hoàn toàn tách biệt với CCIP.
Việc tách này có nghĩa là một lỗ hổng không thể làm sập cả hai mạng.
Đây là một thiết kế sạch sẽ, cẩn trọng cho việc chuyển tiền thật.
Xem bản gốc
  • Phần thưởng
  • Bình luận
  • Đăng lại
  • Retweed
7/
SmartCon 2025 đã trình diễn toàn bộ hệ thống Chainlink:
CCIP (movement) 🏃‍
CRE (execution) ✅
ACE (compliance) 🔯
...và bây giờ RMN (risk) 👹
Cùng nhau, chúng tạo thành công tắc chết cấp tổ chức mà tiền điện tử đã thiếu.
LINK9.97%
Xem bản gốc
post-image
  • Phần thưởng
  • Bình luận
  • Đăng lại
  • Retweed
8/
RMN không phải là cơn sốt, đó là bộ ngắt mạch cho tài chính chuỗi chéo.
Một quyền phủ quyết mật mã được tích hợp vào hệ thống của internet giá trị mới.
$LINK không chỉ bảo vệ dữ liệu nữa.
Nó đang bảo vệ tính cuối cùng của giao dịch. 😯
Xem bản gốc
post-image
  • Phần thưởng
  • Bình luận
  • Đăng lại
  • Retweed
9/
CCIP kết nối các chuỗi khối trên thế giới.
RMN quyết định liệu thế giới có thể di chuyển hay không.
Xem bản gốc
post-image
  • Phần thưởng
  • Bình luận
  • Đăng lại
  • Retweed
10/
Nguồn:
Xem bản gốc
  • Phần thưởng
  • Bình luận
  • Đăng lại
  • Retweed
Thật là một chuyến đi tuyệt vời.
Thật vui khi gặp mọi người trực tiếp, còn những người tôi chưa gặp lần này, hẹn gặp lại ở lần tới.
Xin cảm ơn đội ngũ $LINK đã tổ chức một sự kiện tuyệt vời, đẳng cấp, điều này càng làm tôi tin tưởng hơn nữa.
Tương lai tươi sáng.
Bỏ qua những ồn ào.
Giữ vững.
Xem bản gốc
post-image
post-image
post-image
  • Phần thưởng
  • Bình luận
  • Đăng lại
  • Retweed
Không ai sở hữu đủ. $LINK
Xem bản gốc
post-image
  • Phần thưởng
  • Bình luận
  • Đăng lại
  • Retweed
$LINK biết cách tổ chức tiệc…..
Xem bản gốc
  • Phần thưởng
  • Bình luận
  • Đăng lại
  • Retweed
Chúc bạn có một cuối tuần tuyệt vời.
Chạm vào cỏ.
Xây dựng một cái gì đó.
Mua $LINK
(Tôi đã mất 4 tháng để đến giai đoạn này của việc cải tạo phòng tắm của mình haha)
Xem bản gốc
post-image
  • Phần thưởng
  • Bình luận
  • Đăng lại
  • Retweed
$BTC xu hướng giá 🤣
...nhưng đó là bài học
BTC0.65%
Xem bản gốc
  • Phần thưởng
  • Bình luận
  • Đăng lại
  • Retweed
Thật khó tin khi nghĩ rằng 10 thành phần hàng đầu $SPY chiếm gần 40% toàn bộ chỉ số........
😵‍💫
Xem bản gốc
post-image
  • Phần thưởng
  • Bình luận
  • Đăng lại
  • Retweed
Tôi không tạo ra quy tắc, @DiscoverCrypto_
$LINK >
Xem bản gốc
  • Phần thưởng
  • Bình luận
  • Đăng lại
  • Retweed
Chúc các bạn có một cuối tuần tuyệt vời. Mua $LINK
Xem bản gốc
  • Phần thưởng
  • Bình luận
  • Đăng lại
  • Retweed
  • Chủ đề thịnh hànhXem thêm
  • Gate Fun hotXem thêm
  • Ghim
Giao dịch tiền điện tử mọi lúc mọi nơi
qrCode
Quét để tải xuống ứng dụng Gate
Cộng đồng
Tiếng Việt
  • 简体中文
  • English
  • Tiếng Việt
  • 繁體中文
  • Español
  • Русский
  • Français (Afrique)
  • Português (Portugal)
  • Bahasa Indonesia
  • 日本語
  • بالعربية
  • Українська
  • Português (Brasil)